近日,江苏省通信管理局发布《关于侵害用户权益行为的APP通报》,其中两款贷款APP被通报,分别为“闪用花”和“小橙借款”。

江苏省通信管理局表示,相关单位于9月29日前完成整改并反馈,整改落实不到位的,将依法依规组织开展相关处置工作。
闪用花的主办者为南京满堂红信息科技有限公司(本文称“南京满堂红科技”),该APP所涉问题为违规收集个人信息以及违规使用个人信息。
公开信息显示,南京满堂红科技成立于2024年1月,注册资本100万元。企查查显示,除了闪用花,南京满堂红科技APP备案还包括钱咚咚以及乐意花,备案时间均在2025年7月22日。
南京满堂红科技的股东为江华瑶族自治县华鑫小额贷款有限公司(持股90%)(以下简称“华鑫小贷”)以及吴彩红(持股10%)。
华鑫小贷成立于2013年,注册资本为5000万元,法人及实控人为廖诗建。
根据2020年原银保监会、中国人民银行公开的《网络小额贷款业务管理暂行办法(征求意见稿)》,经营网络小额贷款业务的小额贷款公司的注册资本不低于人民币10亿元,且为一次性实缴货币资本。跨省级行政区域经营网络小额贷款业务的小额贷款公司的注册资本不低于人民币50亿元,且为一次性实缴货币资本。
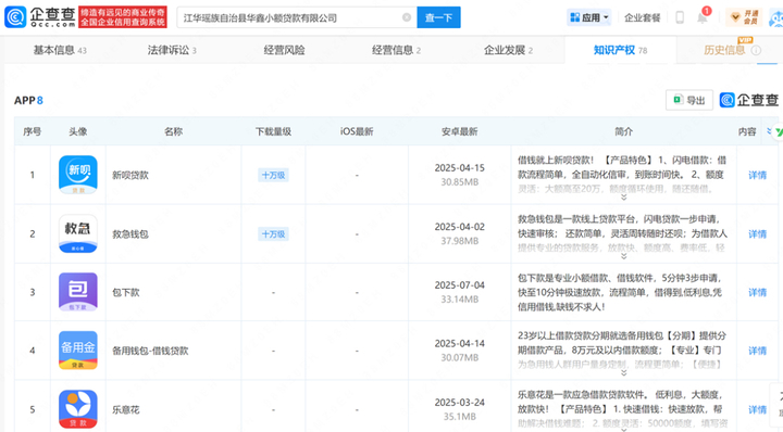
企查查显示,华鑫小贷旗下有8款贷款产品,分别为新呗贷款、救急钱包、包下款、备用钱包-借钱贷款、乐意花、拍拍白条、恒易借、微花钱包,其中后三款APP目前已经下架。

除此之外,企查查显示,在2023年10月至2024年10月一年间,华鑫小贷备案了40多个贷款相关小程序,包括备用金闪借8000、随手借周转7天、开通月付等等。
值得注意的是,今年1月初,华鑫小贷已被湖南省地方金融监管局列入“失联”“空壳”地方金融组织名单。
小橙借款的主办者为南京乐在科技小额贷款有限公司(本文称“南京乐在小贷”),该APP所涉问题为违规收集个人信息。南京乐在小贷成立于2023年5月,注册资本为1亿元。
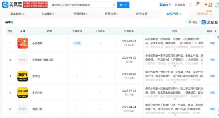
企查查显示,除了小橙借款,南京乐在小贷旗下贷款APP还有小福借款、享借钱、多乐分期、借花分期等。

记者在微信中搜索“小橙借款”时发现,该贷款产品的认证主体为一家名为南京市宏图科技小额贷款有限公司(本文称“宏图小贷”)的企业。
宏图小贷成立于2013年,注册资本为3亿元,企查查显示,宏图小贷备案了4款APP,分别为小橙借款、小福借款、多乐分期、橙乐花。前三款APP与乐在小贷旗下贷款APP重名。
AppStore显示,小福借款的开发者显示为“LezaiTechnologyCo.,Ltd”,下载后,小福借款的用户协议显示,该产品的运营方为南京市天下捷融互联网科技小额贷款有限公司(以下简称“捷融小贷”)。
捷融小贷成立于2016年,其注资为3亿元,企查查显示,其备案的APP包括小福借款、天下分期、小红花,备案的小程序包括天下分期、天下分期Ultra、信融直贷、天下捷融。
针对本次江苏省通信管理局对闪用花、小橙借款两款APP存在侵害用户权益行为的通报,以及旗下同类产品有无类似问题存在,南京满堂红信息科技有限公司、江华瑶族自治县华鑫小额贷款有限公司、南京乐在科技小额贷款有限公司三家公司均未做出相应回馈。
融易借